收藏本站官方用户群天天打卡

 找回密码
 立即注册
搜索
返回列表 发新帖
查看: 1156|回复: 9

[水漫金山] 前十名打卡竞争太激烈了

[复制链接]
  • 打卡等级:本地爷叔
  • 打卡总天数:455
  • 打卡月天数:1
  • 打卡总奖励:4757

2

主题

81

回帖

2178

积分

中级会员

积分
2178

2026年纪念勋章

发表于 2024-12-16 09:07:36 | 显示全部楼层 |阅读模式
本帖最后由 Mr.Pluto 于 2024-12-16 09:09 编辑

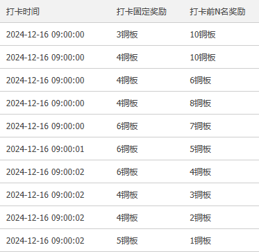
就2秒的时间,想多整点铜币可太难了
1.png
  • 打卡等级:本地爷叔
  • 打卡总天数:521
  • 打卡月天数:11
  • 打卡总奖励:7742

21

主题

841

回帖

9938

积分

高级会员

积分
9938
发表于 2024-12-16 12:37:42 来自手机 | 显示全部楼层
争夺这么激烈呀,这一个个都是快枪手吗😜
  • 打卡等级:本地爷叔
  • 打卡总天数:455
  • 打卡月天数:1
  • 打卡总奖励:4757

2

主题

81

回帖

2178

积分

中级会员

积分
2178

2026年纪念勋章

 楼主| 发表于 2024-12-16 13:40:55 | 显示全部楼层
acbba 发表于 2024-12-16 12:37
争夺这么激烈呀,这一个个都是快枪手吗😜

上一秒点打卡显示未到打卡时间,刷新一下再点就十名开外了:Q

点评

为啥要刷新?我记得计时器有秒表。  发表于 2024-12-16 13:44
  • 打卡等级:本地爷叔
  • 打卡总天数:455
  • 打卡月天数:1
  • 打卡总奖励:4757

2

主题

81

回帖

2178

积分

中级会员

积分
2178

2026年纪念勋章

 楼主| 发表于 2024-12-17 09:02:57 | 显示全部楼层
acbba 发表于 2024-12-16 12:37
争夺这么激烈呀,这一个个都是快枪手吗😜

那个时间好像不准:L
我今天看着09:00:00点的打卡,结果显示打卡时间是09:00:07,已经第20名了:'(
  • 打卡等级:本地爷叔
  • 打卡总天数:521
  • 打卡月天数:11
  • 打卡总奖励:7742

21

主题

841

回帖

9938

积分

高级会员

积分
9938
发表于 2024-12-17 09:21:38 来自手机 | 显示全部楼层
Mr.Pluto 发表于 2024-12-17 09:02
那个时间好像不准:L
我今天看着09:00:00点的打卡,结果显示打卡时间是09:00:07,已经第20名了:'( ...

随缘吧,平常心就好,本来就是个玩,不要把自己弄得太紧张😇😀
  • 打卡等级:本地爷叔
  • 打卡总天数:580
  • 打卡月天数:11
  • 打卡总奖励:6702

6

主题

367

回帖

9159

积分

高级会员

积分
9159
发表于 2024-12-18 20:45:25 | 显示全部楼层
acbba 发表于 2024-12-17 09:21
随缘吧,平常心就好,本来就是个玩,不要把自己弄得太紧张😇😀

{:8_370:} 这还不算啥, 零几年的时候, 在x雷论坛, 天天大半夜凌晨零点准时开抢,
                 一天不争个前三就好像少点啥,  基本都是强迫症晚期的表现, 不过 已经杜绝了 凌晨开枪,
                     现在那个论坛早到爪哇国去了, 只剩下每天必打卡的毛病...{:8_396:}
  • 打卡等级:本地爷叔
  • 打卡总天数:580
  • 打卡月天数:11
  • 打卡总奖励:6702

6

主题

367

回帖

9159

积分

高级会员

积分
9159
发表于 2024-12-18 20:49:13 | 显示全部楼层
Mr.Pluto 发表于 2024-12-16 13:40
上一秒点打卡显示未到打卡时间,刷新一下再点就十名开外了:Q

{:8_387:} 严重怀疑有人用软件, 因为在 52pj 的有个悬赏专区, 里面内卷的厉害, 基本都是秒杀问题, 手动回复的基本无可能, 认识的大佬告诉我, 他就是使用自制软件, 别人给AI 竞争可能性基本为零...{:8_396:}
  • 打卡等级:本地爷叔
  • 打卡总天数:580
  • 打卡月天数:11
  • 打卡总奖励:14813

770

主题

2793

回帖

3万

积分

社区挚友

积分
33415

马年纪念勋章周年纪念徽章2026年纪念勋章

发表于 2024-12-23 09:12:38 | 显示全部楼层
frankandtony 发表于 2024-12-18 20:49
严重怀疑有人用软件, 因为在 52pj 的有个悬赏专区, 里面内卷的厉害, 基本都是秒杀问题, 手动回复的基本 ...

明白人,哈哈哈
  • 打卡等级:热心大叔
  • 打卡总天数:176
  • 打卡月天数:1
  • 打卡总奖励:1884

28

主题

146

回帖

2638

积分

中级会员

积分
2638
发表于 2024-12-28 22:23:06 | 显示全部楼层
论坛的宗旨是好东西大家分享,多发点主题贴,多认真回复就不愁铜板了,花时间在这上没必要,个人看法,不喜勿喷
回复前请确保自己已经认真阅读过《回复须知》,勿谓言之不预!!!
您需要登录后才可以回帖 登录 | 立即注册

本版积分规则

Archiver|手机版|多看聚影

GMT+8, 2026-5-12 00:58 , Processed in 0.037083 second(s), 17 queries , Redis On.

Made with ♥ by Kevin in NYC.

©2024-2026 多看聚影

快速回复 返回顶部 返回列表